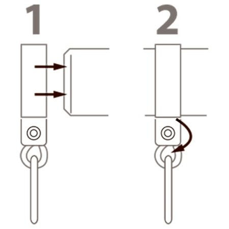
ForsideHus, have og fritidLegGyngestativPlus gyngeophæng Plus gyngeophæng 90x90, karabinhage, 1 stk. 1801912 ‹› Varenummer: 2331755 5703393740212 EAN: 5703393740212 55,00kr.pr. stk.Læg i kurv FragtsatserLængder op til og med 7,00 meter1075,- inkl. momsLængder op til og med 13,00 meter1200,- inkl. momsLængder op til og med 17,00 meter1500,- inkl. momsPå fjernlager 1-5 hverdage Fragtpris: 119,00Kan varen afhentes? Lagerstatus i butikDenne vare kan kun bestilles til leveringHusk også Plus gyngestativ 18519-1 90x90mm stolper trykimp.2.994,00kr.Varenr. 1436134 Plus gyngestativ 18519-15 90x90mm stolper sortgrundet3.665,00kr.Varenr. 1444787 Plus gyngestativ 18521-1 u/gyngesæder m/multistolper2.259,00kr.Varenr. 1668497 Plus redegynge 18401-1 Ø98cm sort/blå606,00kr.Varenr. 1436138 Varenummer Pris:GenereltProdukt PLUS gynge-/karabinophæng til montage af gynge på gyngestativ eller anden trækonstruktion. Disse gyngeophæng passer til PLUS’ omlimede 9 x 9 træstolper. Husk: 5 x 50/60 mm skruer. Medfølger ikke. Produktspecifikationer for Plus gynge-/karabinophæng Indhold: 1 stk. karabinhage Bredde: 9 cm Højde: 9 cm Farve: Varmgalvaniseret Materiale: Stål Overflade: Varmgalvaniseret Vægt: 0,35 Kg Godstykkelse = 3 mm Max. belastning pr. karabinhage = 100 kg Passer til = PLUS Omlimede 9×9 træstolper Downloads Montagevejledning Producent:Plus A/S Ådalen 13 B 6600 Vejen sales@plus.dk Anchor for upsale scroll